Methanol-Brennstoffzellen-Speicher-Kraftwerk
Zur Speicherung und Rückverstromung elektrischer Energie arbeitet ein Methanol-Brennstoffzellen-Speicher-Kraftwerk in 2 Zyklen, und zwar:
- Dem Speicherzyklus in dem Überschussstrom zur Produktion und Einlagerung von e-Methanol genutzt wird und
- dem Verstromungszyklus, in dem bei Unterversorgung im Stromnetz das eingelagerte e-Methanol in indirekten Methanol-Brennstoffzellen (engl. Reformed Methanol Fuel Cell RMFC) zur Elektrizitätserzeugung genutzt wird.
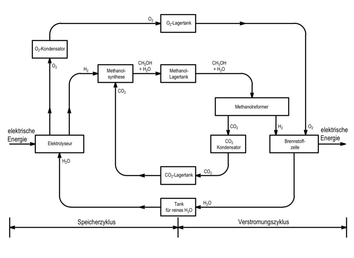
Das Methanol-Brennstoffzellen-Speicher-Kraftwerk arbeitet bei Betrachtung über beide Zyklen mit einem geschlossenen Gesamtstoffkreislauf ohne Emissionen in die Atmosphäre.
Geschlossener Stoffkreislauf des Methanol-Brennstoffzellen-Speicher-Kraftwerks

Energieeffizienz des Brennstoffzellen-Speicher-Kraftwerks
Um eine Einschätzung zur energetischen Effizienz des Brennstoffzellen-Speicher-Kraftwerks vornehmen zu können, haben wir eine Prognoseberechnung durchgeführt. Den elektrischen Zell-Wirkungsgrad der RMFC-Brennstoffzelle haben wir mit 50 % angesetzt.
Der exergetische Wirkungsgrad dieser Prognoseberechnung liegt bei 36%, d. h., dass 36 % des Überschussstroms von Erneuerbaren können im Verstromungszyklus wieder als Elektroenergie ins Netz eingespeist werden. Der Speicherverlust von elektrischer Energie ist ein Exergieverlust aber kein Energieverlust. Die Exergie wird zu Anergie, also Wärme. Diese Wärme fällt überwiegend auf Temperaturniveaus an, die für die Wärmeversorgung im Gebäudebereich sehr gut geeignet sind.
Energieflussdiagramm des Methanol-Brennstoffzellen-Speicher-Kraftwerks

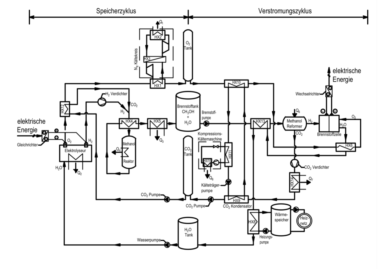
Verfahrensschritte des Speicherzyklus
Der erste Zyklus des Methanol-Brennstoffzellen-Speicher-Kraftwerks, der Speicherzyklus, weist die folgenden Verfahrensschritte auf:
- Zuführung elektrischer Energie und Gleichrichtung.
- Entnahme von H₂O aus dem Tank für reines H₂O.
- Elektrolyse mit Zerlegung des H₂O in die Bestandteile H₂ und O₂.
- Verflüssigung des O₂ aus dem Elektrolyseur bei Tieftemperatur und hohem Druck (36 bar + 146 °K).
- Einlagerung des O₂ in einer vakuumisolierten Tankanlage.
- Verdichtung des H₂ aus dem Elektrolyseur auf den Verfahrensdruck der Methanolsynthese und Zuführung in die Methanolsynthese.
- Entnahme von flüssigem Kohlendioxyd aus der vakuumisolierten CO₂-Tankanlage.
- Verdichtung des flüssigen CO₂ auf den Verfahrensdruck der Methanolsynthese.
- Methanolsynthese aus H₂ und CO₂ mit einem Katalysators nach der chemischen Formel CO₂ + 3 H₂ ↔ CH₃OH + H₂O ΔH = -40,9 kJ/mol
- Kühlung und Kondensation des Gemischs von CH3OH und H₂O.
- Einlagerung des produzierten Methanol-Wasser-Gemischs bei Umgebungsdruck und Umgebungstemperatur im Brennstofftank.
Verfahrensschritte des Verstromungszyklus
Der zweite Zyklus des Methanol-Brennstoffzellen-Speicher-Kraftwerks, die Verstromung mit einer RMFC-Brennstoffzelle, weist folgende Verfahrensschritte auf:
- Entnahme des Gemischs von CH₃OH und H₂O aus dem Brennstofftank.
- Verdampfung des Gemischs von CH₃OH und H₂O.
- Reformierung des CH3OH mit dem in dem H₂O-Anteil des Gemischs im Methanol-Reformer zu H₂ und CO₂ und Zuführung des H₂ in die Brennstoffzelle. Für die Reformierung des CH3OH ist der im Gemisch enthaltene H₂O-Anteil exakt die erforderliche Menge, da die Reaktion im Methanol-Reformer die umgekehrte Reaktion der Methanolsynthese im Speicherzyklus ist. Während die Methanolsynthese eine exotherme Reaktion ist, muss bei der Methanol-Reformierung als endotherme Reaktion Wärme zugeführt werden.
- Entnahme des O₂ aus der vakuumisolierten O₂-Tankanlage.
- Verdampfung des O₂ und Zuführung des O₂ in die Brennstoffzelle. Zeitgleich mit der für die O₂-Verdampfung erforderlichen Wärme muss das CO₂ aus dem Methanol-Reformer kondensiert werden, so dass eine Wärmeübertragung zwischen O₂-Verdampfung und CO₂-Kondensation den Energiebedarf des Gesamtverfahrens senkt.
- Reaktion von H₂ und O₂ in der Brennstoffzelle zur Erzeugung elektrischer Energie als Gleichstrom und Bildung von H₂O als Reaktionsprodukt.
- Umformung des Gleichstroms zu Drehstrom in dem Wechselrichter.
- Einspeisung des Drehstroms in ein elektrisches Versorgungsnetz.
- Kühlung und Kondensation des H₂O aus der Brennstoffzelle.
- Einlagerung des H₂O im Tank für reines H₂O.
- Verdichtung des gasförmigen CO₂ aus dem Methanol-Reformer auf einen Druck >5,16 bar, dem Druck am Trippelpunkt des CO₂.
- Kondensation des CO₂ bei Tieftemperatur z. B. bei 8 bar und 227 °K.
- Druckerhöhung des flüssigen CO₂ auf den Druck der vakuumisoierten CO₂-Tankanlage.
- Einlagerung des CO₂ im CO₂-Tank. Für CO₂-Tankanlagen beträgt der bevorzugte CO₂-Druck 16 bar und die dazugehörige Siedetemperatur beträgt 247 °K.
PI-Schema des Methanol-Brennstoffzellen-Speicher-Kraftwerks

Auf dem Standort eines Stadtwerks, das sowohl ein Stromnetz wie auch ein Wärmenetz versorgt, kann gemäß der Prognoserechnung in einem Methanol-Brennstoffzellen-Speicher-Kraftwerk bis zu 94 % der eingespeicherten elektrischen Energie genutzt werden. Kirchner Energietechnik hofft, baldmöglichst einen Kooperationspartner aus der Brennstoffzellenbranche zu finden, um diese theoretisch ermittelte Effizienz im Praxistest zu bestätigen.
